一、进口橡胶软密封法兰蝶阀 品牌:美国威盾VTON 进口橡胶软密封法兰蝶阀,Soft rubber sealing flange butterfly valve,也叫衬胶蝶阀,橡胶密封蝶阀,软密封法兰式蝶阀,丁晴橡胶蝶阀,EPDM蝶阀,是指采用法兰连接,橡胶密封,通过阀杆带动碟版转动的蝶阀,适用于温度≤120℃,公称压力≤1.6MPa的食品、医药、化工、石油、电力、轻纺、造纸等给排水、气体管道上作调节流量和截流介质的作用。 二、进口橡胶软密封法兰蝶阀主要特点 1、橡胶软密封法兰蝶阀设计新颖、合理、结构独特,重量轻,启闭迅速。 2、橡胶软密封法兰蝶阀操力矩小,操作方便,省力灵巧。 3、橡胶软密封法兰蝶阀可以任何位置安装,维修方便。 4、橡胶软密封法兰蝶阀密封件可以更换,密封性能可靠达到双向密封零泄漏。 5、橡胶软密封法兰蝶阀密封材料耐老化、耐腐蚀,使用寿命长等特点。 三、进口橡胶软密封法兰蝶阀性能规范 公称通径 | DN(mm) | 50~2000 | 公称压力 | PN(MPa) | 0.6 | 1.0 | 1.6 | 试验压力 | 强度试验 | 0.9 | 1.5 | 2.4 | 密封试验 | 0.66 | 1.1 | 1.76 | 气密封试验 | 0.6 | 0.6 | 0.6 | 适用介质 | 空气、水、污水、蒸气、煤气、油品等。 | 驱动形式 | 手动、蜗杆蜗轮传动、气传动、电传动。 |
四、进口橡胶软密封法兰蝶阀零件材料 零件名称 | 材料 | 阀体 | 各种橡胶、聚四氟 | 蝶板 | 灰铸铁、球墨铸钢、铸钢、不锈钢及特殊材料 | 密封圈 | 球墨铸钢、铸钢、合金钢、不锈钢 | 阀杆 | 2Cr13、不锈钢 | 填料 | O型圈、柔性石墨O |
五、进口橡胶软密封法兰蝶阀密封材料选用和适用温度 材料品种 | 氯丁橡胶 | 丁晴橡胶 | 乙丙橡胶 | 聚四氟乙烯 | 硅橡胶 | 氟橡胶 | 代号 | X或or J | XA或or JA | XB或or JB | XC、JC或or F | XD或or JD | XE或or JE | 耐最高温度 | 82℃ | 93℃ | 150℃ | 232℃ | 250℃ | 204℃ | 耐最低温度 | -40℃ | -40℃ | -40℃ | -268℃ | -70℃ | -23℃ | 适用工作温度 | ≤65℃ | ≤80℃ | ≤120℃ | ≤200℃ | ≤200℃ | ≤180℃ |
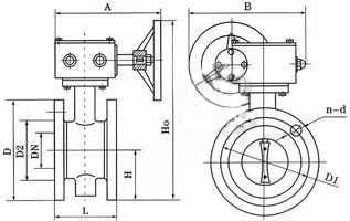
六、进口橡胶软密封法兰蝶阀结构尺寸图 
(1)、手柄式橡胶软密封法兰蝶阀PN6/10/16外形尺寸 公称通径 | 结构长度 | 外形尺寸(参考值) | 连接尺寸(标准值) | 0.6MPa | 1.0MPa | 1.6MPa | 毫米 | 英寸 | L | H | H0 | A | B | D | D1 | D2 | n-d | D | D1 | D2 | n-d | D | D1 | D2 | n-d | 50 | 2 | 108 | 82.5 | 238 | 270 | 65 | 140 | 110 | 88 | 4-14 | 165 | 125 | 99 | 4-18 | 165 | 125 | 99 | 4-18 | 65 | 21/2 | 112 | 92.5 | 258 | 270 | 65 | 160 | 130 | 108 | 4-14 | 185 | 145 | 118 | 4-18 | 185 | 145 | 118 | 4-18 | 80 | 3 | 114 | 100 | 278 | 270 | 65 | 190 | 150 | 124 | 4-18 | 200 | 160 | 132 | 8-18 | 200 | 160 | 132 | 8-18 | 100 | 4 | 127 | 110 | 293 | 270 | 65 | 210 | 170 | 144 | 4-18 | 220 | 180 | 156 | 8-18 | 220 | 180 | 156 | 8-18 | 125 | 5 | 140 | 125 | 309 | 310 | 65 | 240 | 200 | 174 | 8-18 | 250 | 210 | 184 | 8-18 | 250 | 210 | 184 | 8-18 | 150 | 6 | 140 | 142.5 | 336 | 310 | 65 | 265 | 225 | 199 | 8-18 | 285 | 240 | 211 | 8-22 | 285 | 240 | 211 | 8-22 |
(2)、涡轮式橡胶软密封法兰蝶阀PN 6/10/16外形尺寸 
公称通径 | 长度 | 外形尺寸 | 连接尺寸 | 0.6MPa | 1.0MPa | 1.6MPa | mm | L | H | H0 | A | B | D | D1 | D2 | n-d | D | D1 | D2 | n-d | D | D1 | D2 | n-d | 50 | 108 | 63 | 306 | 180 | 200 | 140 | 110 | 88 | 4-14 | 165 | 125 | 99 | 4-18 | 165 | 125 | 99 | 4-18 | 65 | 112 | 70 | 321 | 180 | 200 | 160 | 130 | 108 | 4-14 | 185 | 145 | 118 | 4-18 | 185 | 145 | 118 | 4-18 | 80 | 114 | 83 | 346 | 180 | 200 | 190 | 150 | 124 | 4-18 | 200 | 160 | 132 | 8-18 | 200 | 160 | 132 | 8-18 | 100 | 127 | 105 | 387 | 180 | 200 | 210 | 170 | 144 | 4-18 | 220 | 180 | 156 | 8-18 | 220 | 180 | 156 | 8-18 | 125 | 140 | 115 | 411 | 180 | 200 | 240 | 200 | 174 | 8-18 | 250 | 210 | 184 | 8-18 | 250 | 210 | 184 | 8-18 | 150 | 140 | 137 | 447 | 270 | 280 | 265 | 225 | 199 | 8-18 | 285 | 240 | 211 | 8-22 | 285 | 240 | 211 | 8-22 | 200 | 152 | 164 | 572 | 270 | 280 | 320 | 280 | 254 | 8-18 | 340 | 295 | 266 | 8-22 | 340 | 295 | 266 | 12-22 | 250 | 250 | 206 | 646 | 270 | 280 | 375 | 335 | 309 | 12-18 | 395 | 350 | 319 | 12-22 | 405 | 355 | 319 | 12-26 | 300 | 270 | 230 | 738 | 380 | 420 | 440 | 395 | 363 | 12-22 | 445 | 400 | 370 | 12-22 | 460 | 410 | 370 | 12-26 | 350 | 290 | 248 | 761 | 380 | 420 | 490 | 445 | 413 | 12-22 | 505 | 460 | 429 | 16-22 | 520 | 470 | 429 | 16-26 | 400 | 310 | 289 | 877 | 450 | 470 | 540 | 495 | 463 | 16-22 | 565 | 515 | 480 | 16-26 | 580 | 525 | 480 | 16-30 | 450 | 330 | 320 | 938 | 480 | 490 | 595 | 550 | 518 | 16-22 | 615 | 565 | 530 | 20-26 | 640 | 585 | 548 | 20-30 | 500 | 350 | 343 | 993 | 480 | 490 | 645 | 600 | 568 | 20-22 | 670 | 620 | 582 | 20-26 | 715 | 650 | 609 | 20-33 | 600 | 390 | 413 | 1131 | 480 | 490 | 755 | 705 | 667 | 20-26 | 780 | 725 | 682 | 20-30 | 840 | 770 | 720 | 20-36 | 700 | 430 | 478 | 1476 | 640 | 660 | 860 | 810 | 772 | 24-26 | 895 | 840 | 794 | 24-30 | 910 | 840 | 794 | 24-36 | 800 | 470 | 525 | 1533 | 640 | 660 | 975 | 920 | 878 | 24-30 | 1015 | 950 | 901 | 24-33 | 1025 | 950 | 901 | 24-39 | 900 | 510 | 585 | 1655 | 750 | 860 | 1075 | 1020 | 978 | 24-30 | 1115 | 1050 | 1001 | 28-33 | 1125 | 1050 | 1001 | 28-39 | 1000 | 550 | 640 | 1765 | 850 | 900 | 1175 | 1120 | 1078 | 28-30 | 1230 | 1160 | 1112 | 28-36 | 1255 | 1170 | 1112 | 28-42 | 1200 | 630 | 755 | 1995 | 850 | 900 | 1405 | 1340 | 1295 | 32-33 | 1455 | 1380 | 1328 | 32-39 | 1485 | 1390 | 1328 | 32-48 |
|